Werkstoff: Grauguss EN-GJL-250, phosphatiert.
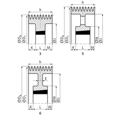
Keilriemenscheiben für Taper-Spannbuchsen, zur schnellen und einfachen Montage. Die Taper-Spannbuchse muss separat bestellt werden. In Anlehnung an DIN 2211 bzw. DIN 2217 bzw. ISO 4183, zur Verwendung mit klassischen Keilriemen DIN 2215 und Schmalkeilriemen DIN 7753-1 / ISO 4184. Der Nenndurchmesser D1 ist der Wirkdurchmesser.

1) Ø 200-212mm nicht für Keilriemen SPC.

Service:

Katalogseite

Zusätzliche Informationen

Montageanleitung



Die angebotenen CAD-Daten, Abbildungen und technischen Zeichnungen werden mit größtmöglicher Sorgfalt erstellt.
Dennoch kann keine Gewährleistung für die Fehlerfreiheit und Genauigkeit dieser Daten übernommen werden.

( freibleibend aus Lagervorrat / kurzfristig lieferbar / Lieferzeit nach Vereinbarung. Bitte fragen Sie nach. )
Artikel Menge Rillen-AnzahlNenn-Ø D1
[mm]
Ø DA
[mm]
AusführungTaper-Buchse
[Nr.]
Bohrung
[mm]
E
[mm]
h
[mm]
J
[mm]
K
[mm]
L
[mm]
M
[mm]
N
[mm]
Gewicht ca.
[kg]
MAE 151-C-8-200
8200 1)209,633535 30 - 90 -213144628962-19,1
MAE 151-C-8-212
8212 1)221,633535 30 - 90 -213156628962-20,62
MAE 151-C-8-224
8224233,633535 30 - 90 -213168628962-23,5
MAE 151-C-8-236
8236245,633535 30 - 90 -213180628962-27,5
MAE 151-C-8-250
8250259,633535 30 - 90 -213194628962-31
MAE 151-C-8-265
8265274,633535 30 - 90 -213209628962-36,7
MAE 151-C-8-280
8280289,633535 30 - 90 -213224628962-40
MAE 151-C-8-300
8300309,634040 40 - 100 -21324455,510255,5-47,5
MAE 151-C-8-315
8315324,634040 40 - 100 -21325955,510255,5-54
MAE 151-C-8-335
8335344,664040 40 - 100 5021327955,510255,521040
MAE 151-C-8-355
8355364,664040 40 - 100 4021329955,510255,521068
MAE 151-C-8-375
8375384,664545 55 - 110 3021331949,511449,524256
MAE 151-C-8-400
8400409,664545 55 - 110 3021334449,511449,524262
MAE 151-C-8-425
8425434,664545 55 - 110 3021336949,511449,524071
MAE 151-C-8-450
8450459,665050 70 - 125 30213394431274326781,5
MAE 151-C-8-475
8475484,665050 70 - 125 30213419431274326788
MAE 151-C-8-500
8500509,665050 70 - 125 30213444431274326790
MAE 151-C-8-530
8530539,665050 70 - 125 302134744312743267130
MAE 151-C-8-560
8560569,655050 70 - 125 -2135044312743267100
MAE 151-C-8-630
8630639,655050 70 - 125 -2135744312743267114
MAE 151-C-8-710
8710719,655050 70 - 125 -2136544312743267150
MAE 151-C-8-800
8800809,655050 70 - 125 -2137374312743267170
MAE 151-C-8-1000
810001009,655050 70 - 125 -2139374312743267186
MAE 151-C-8-1250
812501259,655050 70 - 125 -21311874312743267264


zur Gruppe


Impressum AGB Hilfe Datenschutzerklärung Index


MÄDLER on Facebook Facebook MÄDLER on Youtube YouTube MÄDLER on X X MÄDLER on Instagram Instagram MÄDLER on Xingk Xing MÄDLER on Linkedin LinkedIn