Werkstoff: Grauguss EN-GJL-250, phosphatiert.
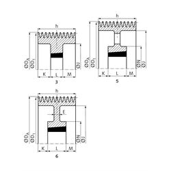
Keilriemenscheiben für Taper-Spannbuchsen, zur schnellen und einfachen Montage. Die Taper-Spannbuchse muss separat bestellt werden. In Anlehnung an DIN 2211 bzw. DIN 2217 bzw. ISO 4183, zur Verwendung mit klassischen Keilriemen DIN 2215 und Schmalkeilriemen DIN 7753-1 / ISO 4184. Der Nenndurchmesser D1 ist der Wirkdurchmesser.

Service:

Katalogseite

Zusätzliche Informationen

Montageanleitung



Die angebotenen CAD-Daten, Abbildungen und technischen Zeichnungen werden mit größtmöglicher Sorgfalt erstellt.
Dennoch kann keine Gewährleistung für die Fehlerfreiheit und Genauigkeit dieser Daten übernommen werden.

( freibleibend aus Lagervorrat / kurzfristig lieferbar / Lieferzeit nach Vereinbarung. Bitte fragen Sie nach. )
Artikel Menge Rillen-AnzahlNenn-Ø D1
[mm]
Ø DA
[mm]
AusführungTaper-Buchse
[Nr.]
Bohrung
[mm]
E
[mm]
h
[mm]
J
[mm]
K
[mm]
L
[mm]
M
[mm]
N
[mm]
Gewicht ca.
[kg]
MAE 151-C-10-224
10224233,634040 40 - 100 -2641708110281-25,8
MAE 151-C-10-250
10250259,634040 40 - 100 -2641948110281-35
MAE 151-C-10-280
10280289,634040 40 - 100 -2642248110281-47
MAE 151-C-10-300
10300309,634545 55 - 110 -2642447511475-52,5
MAE 151-C-10-315
10315324,634545 55 - 110 -2642597511475-61
MAE 151-C-10-355
10355364,634545 55 - 110 -2642997511475-78
MAE 151-C-10-375
10375384,634545 55 - 110 -2643167511475-90
MAE 151-C-10-400
10400409,665050 70 - 125 7026434468,512768,526795
MAE 151-C-10-450
10450459,665050 70 - 125 4026439468,512768,526796,5
MAE 151-C-10-500
10500509,665050 70 - 125 4026444468,512768,526798
MAE 151-C-10-560
10560569,655050 70 - 125 -26450468,512768,5267110
MAE 151-C-10-630
10630639,655050 70 - 125 -26457468,512768,5267123
MAE 151-C-10-710
10710719,655050 70 - 125 -26465468,512768,5267142
MAE 151-C-10-800
10800809,655050 70 - 125 -26473768,512768,5267163,5
MAE 151-C-10-1000
1010001009,655050 70 - 125 -26493768,512768,5267245
MAE 151-C-10-1250
1012501259,655050 70 - 125 -264118768,512768,5267310


zur Gruppe


Impressum AGB Hilfe Datenschutzerklärung Index


MÄDLER on Facebook Facebook MÄDLER on Youtube YouTube MÄDLER on X X MÄDLER on Instagram Instagram MÄDLER on Xingk Xing MÄDLER on Linkedin LinkedIn