Werkstoff: Grauguss EN-GJL-250, phosphatiert.
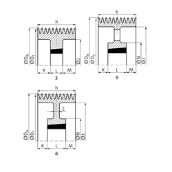
Keilriemenscheiben für Taper-Spannbuchsen, zur schnellen und einfachen Montage. Die Taper-Spannbuchse muss separat bestellt werden. In Anlehnung an DIN 2211 bzw. DIN 2217 bzw. ISO 4183, zur Verwendung mit klassischen Keilriemen DIN 2215 und Schmalkeilriemen DIN 7753-1 / ISO 4184. Auch verwendbar für Keilriemen 5V/15N nach ARPM/MPTA. Der Nenndurchmesser D1 ist der Wirkdurchmesser.

Service:

Katalogseite

Zusätzliche Informationen

Montageanleitung



Die angebotenen CAD-Daten, Abbildungen und technischen Zeichnungen werden mit größtmöglicher Sorgfalt erstellt.
Dennoch kann keine Gewährleistung für die Fehlerfreiheit und Genauigkeit dieser Daten übernommen werden.

( freibleibend aus Lagervorrat / kurzfristig lieferbar / Lieferzeit nach Vereinbarung. Bitte fragen Sie nach. )
Artikel Menge Rillen-AnzahlNenn-Ø D1
[mm]
Ø DA
[mm]
AusführungTaper-Buchse
[Nr.]
Bohrung
[mm]
E
[mm]
h
[mm]
J
[mm]
K
[mm]
L
[mm]
M
[mm]
N
[mm]
Gewicht ca.
[kg]
MAE 151-B-10-200
1020020733535 30 - 90 -19615753,58953,5-16,4
MAE 151-B-10-224
1022423133535 30 - 90 -19618153,58953,5-24,0
MAE 151-B-10-236
1023624333535 30 - 90 -19619353,58953,5-25,5
MAE 151-B-10-250
1025025733535 30 - 90 -19620753,58953,5-29,5
MAE 151-B-10-280
1028028763535 30 - 90 3019623753,58953,517530,0
MAE 151-B-10-315
1031532263535 30 - 90 3019627253,58953,517537,0
MAE 151-B-10-335
1033534264040 40 - 100 30196292471024721039,1
MAE 151-B-10-355
1035536264040 40 - 100 30196312471024721040,0
MAE 151-B-10-400
1040040764040 40 - 100 30196357471024721054,0
MAE 151-B-10-450
1045045754545 55 - 110 -196407411144124261,0
MAE 151-B-10-500
1050050754545 55 - 110 -196457411144124268,0
MAE 151-B-10-560
1056056754545 55 - 110 -196517411144124282,0
MAE 151-B-10-630
1063063754545 55 - 110 -196587411144124288,0
MAE 151-B-10-710
1071071754545 55 - 110 -1966644111441242100,0
MAE 151-B-10-800
1080080754545 55 - 110 -1967544111441242133,0
MAE 151-B-10-900
1090090755050 70 - 125 -19685434,512734,5267144,0
MAE 151-B-10-1000
101000100755050 70 - 125 -19695434,512734,5267185,0


zur Gruppe


Impressum AGB Hilfe Datenschutzerklärung Index


MÄDLER on Facebook Facebook MÄDLER on Youtube YouTube MÄDLER on X X MÄDLER on Instagram Instagram MÄDLER on Xingk Xing MÄDLER on Linkedin LinkedIn