Werkstoff: Grauguss EN-GJL-250, phosphatiert.
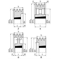
Keilriemenscheiben für Taper-Spannbuchsen, zur schnellen und einfachen Montage. Die Taper-Spannbuchse muss separat bestellt werden. In Anlehnung an DIN 2211 bzw. DIN 2217 bzw. ISO 4183, zur Verwendung mit klassischen Keilriemen DIN 2215 und Schmalkeilriemen DIN 7753-1 / ISO 4184. Der Nenndurchmesser D1 ist der Wirkdurchmesser.

1) Ø 71-85mm nicht für Keilriemen SPA.


Im Zuge der Sortimentserweiterung dieser Produktgruppe wurden neue Teilenummern vergeben. Hier erhalten Sie eine vollständige Übersicht der bisherigen und neuen Artikelnummern:

Übersicht Nachfolger Taper-Keilriemenscheiben

Service:

Katalogseite

Zusätzliche Informationen

Montageanleitung



Die angebotenen CAD-Daten, Abbildungen und technischen Zeichnungen werden mit größtmöglicher Sorgfalt erstellt.
Dennoch kann keine Gewährleistung für die Fehlerfreiheit und Genauigkeit dieser Daten übernommen werden.

( freibleibend aus Lagervorrat / kurzfristig lieferbar / Lieferzeit nach Vereinbarung. Bitte fragen Sie nach. )
Artikel Menge Bisherige ArtikelnummerRillen-AnzahlNenn-Ø D1
[mm]
Ø DA
[mm]
AusführungTaper-Buchse
[Nr.]
Bohrung
[mm]
E
[mm]
h
[mm]
J
[mm]
K
[mm]
L
[mm]
M
[mm]
N
[mm]
Gewicht ca.
[kg]
MAE 151-A-3-71
371 1)76,581108 9 - 28 -50402822--0,80
MAE 151-A-3-75
375 1)80,581108 9 - 28 -50442822--1,00
MAE 151-A-3-80
15330800380 1)85,581210 10 - 32 -50502525--0,84
MAE 151-A-3-85
385 1)90,581210 10 - 32 -50552525--0,99
MAE 151-A-3-90
1533090039095,581610 12 - 42 -50592525--1,03
MAE 151-A-3-95
395100,581610 12 - 42 -50632525--1,18
MAE 151-A-3-100
153310003100105,521610 12 - 42 -5066-2525-1,30
MAE 151-A-3-106
3106111,521610 12 - 42 -5072-2525-1,55
MAE 151-A-3-112
153311003112117,582012 12 - 50 -50781832--1,54
MAE 151-A-3-118
3118123,522012 12 - 50 -5084-3218-1,80
MAE 151-A-3-125
153312003125130,522012 12 - 50 -5091-3218-2,22
MAE 151-A-3-132
3132137,522012 12 - 50 -5098-3218-2,52
MAE 151-A-3-140
153314003140145,582517 15 - 65 -50106545--2,88
MAE 151-A-3-150
3150155,582517 15 - 65 -50116545--3,60
MAE 151-A-3-160
153316003160165,582517 15 - 65 -50125545--4,50
MAE 151-A-3-170
3170175,582517 15 - 65 -50135545--5,11
MAE 151-A-3-180
153318003180185,582517 15 - 65 -50146545--6,03
MAE 151-A-3-190
3190195,582517 15 - 65 -50156545--6,94
MAE 151-A-3-200
153320003200205,562517 15 - 65 20501652,5452,51236,12
MAE 151-A-3-212
3212217,562517 15 - 65 20501772,5452,51236,71
MAE 151-A-3-224
153322003224229,562517 15 - 65 20501892,5452,51247,50
MAE 151-A-3-236
3236241,562517 15 - 65 20502022,5452,51246,98
MAE 151-A-3-250
153325003250255,562517 15 - 65 20502152,5452,51247,33
MAE 151-A-3-280
153328003280285,562517 15 - 65 20502452,5452,51247,56
MAE 151-A-3-300
3300305,543020 20 - 75 -502650,5510,51469,78
MAE 151-A-3-315
153331003315320,543020 20 - 75 -502800,5510,515910,1
MAE 151-A-3-355
3355360,543020 20 - 75 -503200,5510,515910,7
MAE 151-A-3-400
3400405,5133020 20 - 75 -50365-51115914,1
MAE 151-A-3-450
3450455,5133020 20 - 75 -50415-51115918,6
MAE 151-A-3-500
3500505,5133020 20 - 75 -50465-51115919,5
MAE 151-A-3-560
3560565,5133020 20 - 75 -50525-51115022,1
MAE 151-A-3-630
3630635,5133020 20 - 75 -50595-51115024,8
MAE 151-A-3-800
3800805,543535 30 - 90 -5076519,58919,517539,2
MAE 151-A-3-1000
310001005,543535 30 - 90 -5096519,58919,517558,0


zur Gruppe


Impressum AGB Hilfe Datenschutzerklärung Index


MÄDLER on Facebook Facebook MÄDLER on Youtube YouTube MÄDLER on X X MÄDLER on Instagram Instagram MÄDLER on Xingk Xing MÄDLER on Linkedin LinkedIn